苹果键盘专利曝光, 以后再也不怕吃东西掉渣了
边吃东西边追剧是我们非常向往的幸福生活了,而在电脑面前吃东西最大的受害者就是你面前的键盘,因为有些键盘的缝隙非常的小,所以渣滓掉进去很难清理出来,这是一个非常费劲的事情,搞不好再弄一滩水在上面,整个电脑就报废了。所以苹果公司就键盘问题申请了一项专利。
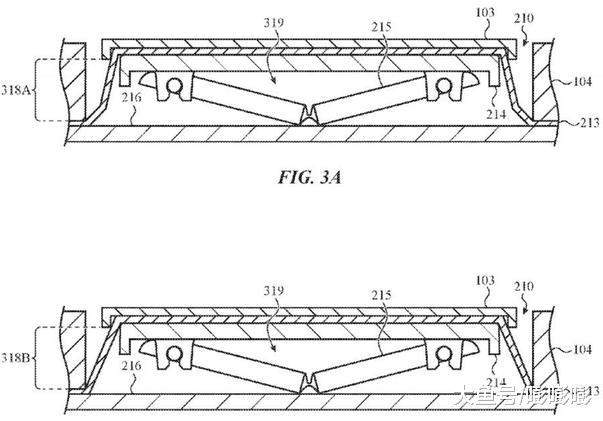
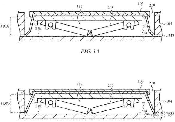
苹果的键盘跟其他的键盘略微有些不同,它是采用的蝶式键盘,相比于其他的键盘,键程偏短,所以在打字的时候可能没有其他键盘有着很强的段落感,在布局上,键盘之间的间隔还是比较大的,以至于灰尘等一些细小的颗粒掉落在黑色的键盘上非常容易发现,苹果公司针对它们的键盘作出了这样一种优化,使得键盘在使用的时候不会轻易的染上灰尘。

从图片中显示的专利信息来看,这款防尘键盘采用的原理是非常简单的,相当于在每个按键的边缘部位加上一层防尘膜。这样一来,未来使用的时候键盘掉入灰尘或者是水的时候对键盘本身是没有什么影响的,不过实际的使用是怎样的还不知道,如果只是单纯的镀膜的话,估计在使用时间上会有所折扣。
