ERC20 Token与主网Token互转分析
ERC20 Token比较成熟,很多Token(如YOYOW)就是从ERC20转到主网,今天来研究下这块怎么操作。
ERC20转主网
YOYOW从ERC20转到主网,先需要在网关获得对应的ETH地址,然后从交易所或者ERC20钱包往此地址转YOYOW。
YOYO钱包转入界面
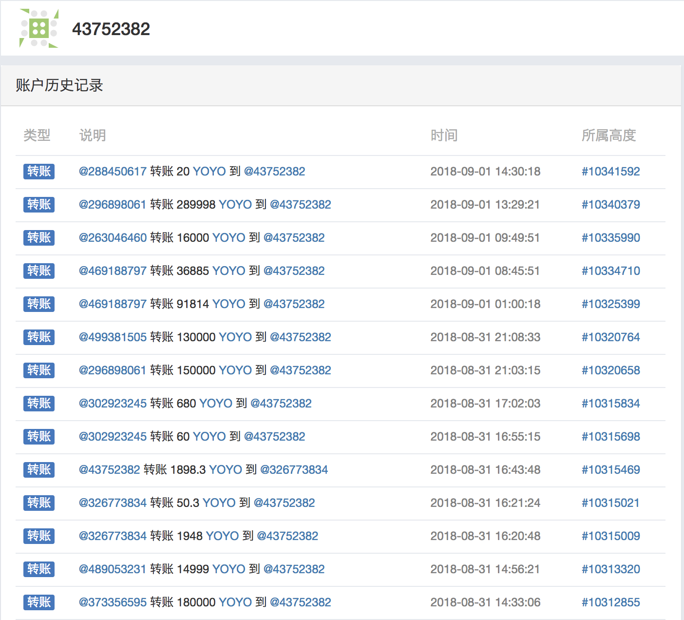
转帐记录
这个是ERC20的转帐记录,0xEcA9408E85170c9511c8884Ad035868cD6310d86这个地址是属于YOYO控制的,这个地址的token在8个月后仍然存在。
而从YOYO钱包查看记录如下:
网关帐号
那么针对不同的用户,这个YOYO帐号#43752382是不是一样的呢?查一下这个帐号信息:
名字就叫"yoyow_gateway1"了,而且是个Owner多重签名帐户。
从充提记录也可以看出这个帐号就是YOYO统一使用充提的帐号之一了!
问题是现在这个帐号为什么只有出?都提币去交易所卖了?!不是好事情啊!
YOYOW合约地址为0xcbeAEc699431857FDB4d37aDDBBdc20E132D4903,合约代码也可以在这看到:https://etherscan.io/address/0xcbeaec699431857fdb4d37addbbdc20e132d4903#code
主网转ERC20
以前没转过,随便找个地址转20个吧,现在也不值钱,哭...
这个ETH交易费看来是扣的10个YOYO来出吧!
结论
转入流程
YOYO网关生成一个ETH地址与YOYO帐号绑定,当监控到此ETH地址有YOYOW(ERC20)转入时,网关帐号会给主网帐号转同等数量的YOYOW币,而转入的YOYOW(ERC20)不会处理,也没必要处理,因为这个地址也只有YOYO有私钥。
转出流程
先将用户主网的YOYOW转入网关帐号,再由网关调用YOYOW合约接口把YOYOW(ERC20)转到用户指定ETH地址。






你今天过的开心吗?快来使用超级好用的steemit客户端---Partiko,这个可是我们华人团队开发的哦。倘若你想让我隐形,请回复“取消”。
老哥你真是太厉害了, 专门注册来为你点赞. 我是在专门做区块链的研究,和你的方向很近, 不知道你是否有兴趣了解一下. 可以提供正式工作, 暂时地点定深圳.
多谢,最近还比较忙